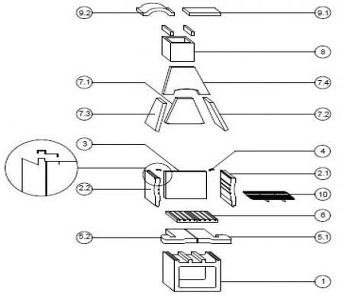
Barbecue beton van 195cm hoog, 93cm breed en 60cm diep. Gewicht ruim 300kg en kan ook als tuinhaard gebruikt worden. Snel en eenvoudig te monteren. Inclusief vuurvaste montagekit.
+ Hoogte 195cm, breedte 93cm, diepte 60cm
+ Tafelhoogte: 61 cm
+ Grillhoogte (midden): 81 cm
+ Gewicht 300kg
+ Inclusief vuurvaste siliconenkit
+ Geen behandeling met dure quartzcoating nodig
+ Te gebruiken als tuinhaard max. 2kg hout
+ Oorspronkelijke kleur is grijs (sfeerfoto)+ Inclusief bouwtekening, eenvoudig op te bouwen
+ Te combineren met allerlei barbecue accessoires zoals o.a. rvs aslades voor het eenvoudig verwijderen van de asresten van briketten, rvs bio grillroosters, ter voorkoming dat het vlees aanbrandt en schoorsteen verlengstukken (optioneel)
+ Mooie beschermhoes die uw betonnen barbecue beschermt tegen weersinvloeden en vuil eveneens als optie leverbaar (optioneel)
+ Kwalitatief zeer hoogwaardig ovengedroogd berkenhout als optie leverbaar



















Beoordelingen
Er zijn nog geen beoordelingen.